There’s something electric about the moment The Walt Disney Company files a new patent. For diehard fans of Walt Disney World Resort and Disneyland Resort, it feels like peeking behind the curtain of Imagineering itself. Every filing sparks speculation. Every diagram sends Reddit into overdrive. And sometimes, those patents quietly shape the next generation of Disney Parks magic.
For decades, Disney has pushed theme park technology forward — from trackless dark rides to increasingly lifelike Audio-Animatronics. Guests expect innovation. They expect storytelling that surrounds them, lifts them, and occasionally leaves them breathless. That’s simply the Disney standard.
But this week, a new patent filing has fans buzzing again — and this one feels different.

Disney’s History of Patents Has Often Foreshadowed Major Park Innovations
Disney is no stranger to filing patents that hint at what’s next. Back in September 2025, the company submitted paperwork for upgraded animatronic systems designed to enhance movement and realism. While that specific patent has not yet appeared exactly as described, guests are already seeing improvements to figures across the parks — including updates at Frozen Ever After in EPCOT.
That pattern is important. Not every patent becomes a ride. Not every application turns into reality. But historically, many Disney innovations start here — in legal documents few casual guests ever read.
And now, another filing has surfaced.

A New Ride System Design Has Fans Digging Into Every Detail
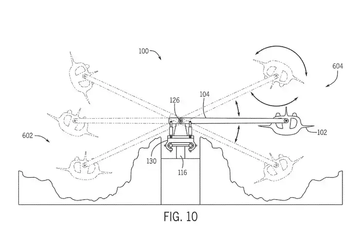
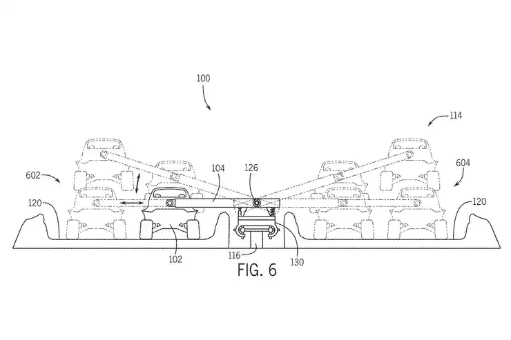
The newly filed patent describes a ride system built around a boom arm attached to a vehicle chassis. On paper, that might not sound revolutionary. But the functionality outlined in the filing tells a different story.
As the ride vehicle moves along its track, the boom arm can actively shift the vehicle’s position — up and down, side to side, and even pivoting. The design allows for dynamic adjustments that go far beyond traditional track-based motion.
According to the patent application, this system could simulate dramatic movements such as:
-
Lifting the vehicle off the track to mimic a “jump”
-
Side-to-side dodging of obstacles
-
Acceleration boosts
-
Height adjustments to simulate ramps or hills
-
Pivoting to create sharp directional changes
It also mentions multiple ride paths — potentially allowing vehicles to shift from one track to another mid-experience. Even more intriguing, references to third and fourth track options suggest each ride cycle could feel different.
Fans are heartbroken at the thought of missed opportunities in past expansions — but excited at the possibility that this technology could finally deliver a truly variable attraction experience.

Social Media Is Already Speculating About What This Could Mean
On X (formerly Twitter) and Reddit, speculation threads began appearing within hours of the filing surfacing.
Some users compared the concept to enhanced motion simulators, while others theorized it could blend coaster elements with dark ride storytelling. A popular Reddit thread suggested the pivoting track element could “finally give Disney its own dynamic rally-style attraction.”
Of course, the key phrase circulating everywhere is: “This changes everything.”
And yet — nothing has been officially announced.

Here’s What the Patent Actually Suggests
At its core, this patent outlines a ride vehicle connected to a boom arm that allows active repositioning while remaining on a guided path. Unlike traditional coaster restraints or motion bases, this system would manipulate the entire vehicle orientation relative to the track.
One particularly fascinating element described in the filing involves guest maneuverability. The patent suggests the possibility of riders having some level of control — pivoting between track sections or influencing which route the vehicle takes.
That’s significant.
Multiple ride paths mean the attraction could be designed so that no two experiences are exactly the same. It also opens the door for re-rideability — something Disney constantly seeks in its park expansions.
While no official confirmation has tied this technology to a specific project, many fans believe it could be a strong fit for the Rally Race attraction planned for Piston Peak. The rally-style concept would naturally align with features like obstacle avoidance, acceleration bursts, and directional pivoting.
Still, it’s important to note that this is only a patent application — not a granted patent. And Disney has historically filed patents that have yet to materialize in any park.

What This Means for Upcoming Disney Park Expansions
Disney is currently investing heavily in park expansions and next-generation storytelling technology. If implemented, this ride system could signal a major evolution in how attractions blend physical sets, motion, and interactive elements.
Imagine cresting a hill and actually feeling your vehicle lift. Dodging obstacles in real time. Or experiencing a slightly different storyline depending on which track your vehicle shifts to.
It’s ambitious. It’s complex. And it’s very on-brand for Disney Imagineering.
But until Disney confirms its plans, fans are left doing what they do best — speculating, theorizing, and dreaming.
The end of an era? Not quite. But perhaps the beginning of something new.
What do you think? Would you want a Disney attraction where your vehicle jumps, pivots, and switches tracks mid-ride? Or is this just another patent that may never leave the drawing board?
One thing is certain: whenever Disney files a patent, the magic feels just a little closer.
Source: WDWMagic



